Легко ли перегонять нефть?
Рассмотрение немецких технологий переработки угля: процесса Бергиуса-Пира, Фишера-Тропша-Рёлена и Потта-Брохе почему-то неизменно встречало комментарии такого рода, что это всё дорого, а вот переработка нефти дешевле. Это часто высказываемое суждение, и среди его сторонников, как мне заметилось, нет ни одного нефтяника или нефтепереработчика. Дьявол всегда кроется в деталях, и эти люди хорошо знают, сколь много возни с этой самой «дешёвой» нефтепереработкой.
Поэтому я решил сделать краткий обзор технологии первичной переработки нефти, включающей только перегонку, без более сложных технологий. В основном изложение следует учебнику И. Л. Гуревича «Технология нефти. Часть первая. Общие свойства и первичная перегонка нефтей», выпущенному в 1952 году. В нём отражены технологии первичной перегонки нефти, использовавшиеся в межвоенное и военное время.
Иосиф Львович Гуревич в 1930 году, после работы на Бакинском нефтеперерабатывающем заводе, основал кафедру технологии переработки нефти и газа в Московском нефтяном институте (ныне Российский государственный университет нефти и газа им. И. М. Губкина, также известный как «керосинка»), которой, с перерывом на войну, руководил до 1968 года.
Удалить из нефти воду и соль
Итак, нефть на устье скважины. Что делать? Сразу в перегонку? Не спешите, потому что подвох подстерегает прямо здесь. Нефть чаще всего добывают в виде эмульсии, в которой вместе с нефтью есть ещё попутный газ и вода.
В нефти в пласте всегда растворено некоторое, иногда довольно большое количество попутного газа, например, в бакинской нефти от 10 до 30 %. Для отделения газа от нефти используется газосепаратор, представляющий собой большую ёмкость, внутри которой сделаны перегородки. Нефтяная эмульсия закачивается в неё, происходит высвобождение попутного газа, который собирается и выводится в газопровод. В силу того, что далеко не всегда газ легко выходит из нефти, бывают газосепараторы вакуумные, низкого давления, среднего и высокого давления, гравитационные и центробежные. Например, уже в 1930-е годы нефтеперерабатывающие заводы использовали сепараторы или водогрязеотделители с подогревом нефти до 120-160 градусов и давлением от 8 до 15 атмосфер.
Мы ещё далеко не дошли до перегонки, а уже начались сложные технические устройства.
Газосепаратор помогает также и другой задаче — очистке нефти от воды, которой бывает много, до 90 % от веса добытой из скважины жидкости. Из многих старых скважин добывается вода, в которой есть немного нефти. В газосепараторе вода отстаивается или отжимается от нефти. Раньше она просто сливалась в канализацию, а теперь её обычно очищают и повторно используют. Нефть аккуратно переливается в приёмную часть газосепаратора, откуда поступает в накопительную ёмкость.
Вода в нефти — это проблема, поскольку она содержит в себе некоторое количество минеральных солей, из которых хлористый кальций и хлористый магний гидролизуются с образованием соляной кислоты. Если не провести очистку нефти от воды и солей, то соляная кислота будет разъедать большие и дорогостоящие перегонные установки. В 1930-х годах допускалась до переработки нефть, содержащая не более 0,3 % воды и не более 50 мг солей на 1 литр нефти.
Остатки воды из нефти извлекались самыми разными способами. Фильтрация через кварцевый песок или мелкую стружку лиственных деревьев. Центрифугирование от 15 до 45 тысяч оборотов в минуту. Химические методы разрушения эмульсии, например, введение едкого натра или извести, или пропускание подогретой нефти через слой поваренной соли. Использовался также электродегидратор — ёмкость диаметром 3 метра, высотой 3,7 метров, рассчитанная на давление в 3,5 атмосферы, внутри которой смонтированы электроды — диски из полосовой стали. Эмульсия вводится снизу через трубу, срез которой прикрыт конусом, установленным острой стороной в трубу, чтобы происходило распыление подогретой до 80 градусов жидкости на электроды. Установка могла обработать 250 тонн в сутки, добиваясь чистоты по воде 0,1 % и по соли 23 мг на литр. Но при содержании воды более 10 % установка не работала из-за замыкания.
Уже первая по И. Л. Гуревичу стадия очистки нефти сталкивается с серьёзными трудностями и требует весьма сложных по конструкции аппаратов.
«Дыхание» резервуара
Тут же, у устья скважины, возникает и другая проблема. Из добытой нефти испаряются газы: метан, этан, пропан, увлекая за собой бутан, пентан, гексан, гептан, октан и другие углеводороды ряда алканов. Эти углеводороды — ценный компонент авиационного бензина.
В Баку это была проблема, поскольку климат жаркий, особенно летом, оборудование нагревалось, тепло передавалось газам и они охотно испарялись везде, где только можно. Если фракции с температурой кипения ниже 100 градусов на очистке нефти от воды и грязи составляли 9 %, в сырьевом резервуаре — 7,88 %, то в резервуаре на нефтеперерабатывающем заводе их оставалось 6,8 %. Потери 2,2 %. При годовой добыче в 31 млн тонн в том же Баку — это 682 тысячи тонн самых ценных и самых нужных для авиации нефтяных фракций.
Эти газы обладали способностью испаряться прямо в ёмкостях, что даже получило у нефтяников особые названия. У нефтяных ёмкостей на крыше есть клапан для выпуска излишнего воздуха во избежание скачка давления. Воздух внутри ёмкости всегда насыщен парами легкокипящих углеводородов. Когда в ёмкость подавали нефть, то она сжимала воздух, и он, вместе с углеводородными парами, устремлялся наружу через клапан. Это нефтяники называли «большое дыхание» резервуара.
Когда ёмкость заполнена до установленного уровня, днём она нагревается, давление увеличивается и стравливается через клапан. Ночью — обратный процесс, воздух охлаждается, создаёт некоторый вакуум в ёмкости и через клапан подсасывает атмосферный воздух. Это — «малое дыхание» резервуара.
Для решения этой проблемы придумали, к примеру, дышащий баллон, то есть резервуар ёмкостью до 10 тысяч кубометров, сделанный из гибкой листовой стали 2 мм, соединённый с выпускными клапанами нефтяных резервуаров. Также резервуары оборудовали тонкой дышащей крышей из гибкой стали 3-5 мм, которая поднималась при увеличении давления внутри. Потом была разработана плавающая крыша, используемая на современных нефтехранилищах. Это, по сути дела, поплавок, который полностью закрывает площадь резервуара и герметизируется уплотняющими кольцами различной конструкции. Нефть закачивается под неё, без воздушной прослойки, и крыша поднимается на поверхности нефти до ограничительных упоров. Вот в таких хранилищах никакого «дыхания» уже нет. Но в 1930-е и 1940-е годы такие хранилища ещё не были совершенными и не считались надёжными.
Это всё требовалось просто для того, чтобы сберечь ценные компоненты нефти. В 1920-х и в 1930-х годах газы и легкокипящие компоненты в значительной степени летели в воздух, поскольку широко практиковалось отстаивание нефти от воды и грязи в обычных резервуарах и даже в открытых прудах. Немецкие специалисты, оценивавшие в 1935 году состояние советской нефтеперерабатывающей промышленности, считали, что один Баку теряет в год порядка 100 тысяч авиабензина за счёт испарения легкокипящих фракций.
Нефть должна быть стабильной!
Однако вопрос-то остаётся. Газы и легкокипящие фракции перед перегонкой надо из нефти убрать. Если этого не сделать, то полученный бензин будет нестабильным и при хранении может изменить свой фракционный состав и свои свойства.
И. Л. Гуревич излагал процесс подготовки нефти в том порядке, в каком он сложился на заводах Нефтесиндиката в Баку — сначала очистка от воды и грязи, а потом от легкокипящих фракций. Но в середине 1930-х годов в технологию стали вносить изменения, и в первую очередь стали делать удаление легкокипящих фракций (также стабилизацию нефтей, отбензинирование). Стабилизационные установки, по сути небольшой нефтеперерабатывающий завод, могли устанавливаться на промыслах и на заводах.
Промысловая стабилизационная установка прокачивала нефть через теплообменник для её подогрева, затем через отстойник для грубой очистки от воды и грязи, и оттуда в ректификационную колонну под давлением. Нефть внутри стекала по тарелкам, освобождаясь от газов и легкокипящих фракций. Эти газы и фракции проходили через газосепаратор, откуда сухой газ подавался в газопровод (он использовался в качестве технологического топлива), а жидкие фракции подавались во вторую ректификационную колонну с давлением 8-12 атмосфер. Там из бензина отгоняли излишек пропан-бутановой фракции, который сжижался и направлялся в газохранилище. Стабилизированный бензин либо отправляли в ёмкость авиабензина, либо подкачивали к нефти, направляемой на нефтеперерабатывающий завод.
Надеюсь, у читателей ещё не стало рябить в глазах от обилия всевозможных устройств? Это самое сокращённое изложение, не упоминающее насосов, холодных и горячих, и других вспомогательных устройств.
Если стабилизация нефти на промысле не проводилась или стабилизированный бензин и нефть смешивались, на заводе процедура повторялась. Нефть под давлением 12-18 атмосфер подавалась в 12 пар теплообменников, в которых теплоносителем были нефтепродукты только из ректификационной колонны: керосин (177 градусов) и мазут (145 градусов). Затем под давлением 5-6 атмосфер и температуре 120 градусов — в дегидраторы для очистки от воды и грязи. После этого нефть ещё раз нагревается в мазутных теплообменниках до 160 градусов и направляется в аппарат предварительного испарения, откуда пары бензина направляются в отдельную ректификационную колонну, а отбензиненная нефть — в специальную нагревательную печь.
Ещё не перегонка? Нет, ещё не перегонка. Нефть нагреть нужно.
Кубы, кубы, кубы...
Люди, делавшие самогон, безусловно знают, что такое перегонный куб и ректификационная колонна. В первом устройстве, в ёмкости, происходит нагрев перегоняемой жидкости, а во втором — её разделение на фракции по температуре кипения. Но в нефтеперерабатывающей промышленности всё немного не так.
Изначально переработка нефти — это, конечно, кубовая перегонка. Нефть наливали в куб, по конструкции жаротрубный паровой котёл, нагревали пропускаемым через жаровые трубы паром и испаряли, пары нефти выходили из куба в дефлегматор, который, в сущности, холодильник. Там пары разделялись: совсем легкокипящие фракции выходили в специальный холодильник для конденсации, а более высококипящие фракции конденсировались в дефлегматоре и оттуда стекали обратно в перегонный куб. Таким образом из нефти выгоняли все светлые нефтепродукты, до керосина, а мазут сжигали как технологическое топливо. Потом стал цениться бензин, и между дефлегматором и холодильником поставили скруббер, в котором горячие пары промывали водой, бензин охлаждался и конденсировался, смесь собирали и разделяли.
Затем придумали многокубовые установки с последовательным нагревом. В первый куб нефть попадала подогретой в мазутном теплообменнике до 100 градусов, и там сразу испарялись компоненты бензина, затем перетекала во второй куб, в третий, четвёртый и так далее, нагреваясь в последнем до 300-320 градусов — температуры выгонки мазута, после которого в кубе оставался гудрон. Каждый куб имел свой дефлегматор, свой холодильник, откуда продукты поступали в сортировочное отделение завода.
Типичный пример кубового нефтеперерабатывающего завода в Баку
В многокубовой установке, например, на 7 кубов, можно было разделить нефть по фракциям. Но не слишком хорошо. Фракции как бы «размазывались» по кубам. Например, до температуры 110 градусов в 1-м кубе выкипало 18 %, во 2-м кубе — 11 % и в 5-м кубе — 1 %. Одна бензиновая фракция оказывалась сразу в нескольких потоках и неизбежно смешивалась с лигроиновыми фракциями, особенно при нечётком контроле за температурой. Поэтому и появился «газолин», то есть лёгкие фракции первых кубов, которые собирали и второй раз перегоняли на ректификационной колонне, отделяя экстракционный бензин и бензин «калоша».
Кубовые установки совершенствовали, например, путём добавления кубов. Появились 13-кубовые и даже 20-кубовые установки. Последняя была сконструирована для перегонки мазута на смазочные масла, в первом кубе — 150 градусов, в последнем — 350 градусов. Каждый куб имел четыре последовательно соединённых дефлегматора и холодильники. Эта батарея выгоняла из мазута 80 масляных фракций, которые сортировались по вязкости и смешивались в 8 марок смазочного масла. При своих 20 кубах и 80 дефлегматорах, установка перегоняла в сутки около 50 тонн мазута.
Следующий пункт совершенствования — к группе кубов вместо дефлегматоров добавили ректификационную колонну. Сначала на 13-кубовой установке к первым кубам добавили испарительную установку и ректификационную колонну. Нефть протекала колонну сверху вниз, освобождаясь от легкокипящих фракций, и поступала в 1-й куб. Соответственно, лёгкие пары из первых трёх кубов поступали в эту же колонну, а кубовой остаток перетекал в следующий по порядку куб. Колонны добавили группе кубов с 3-го по 6-й и группе с 7-го по 10-й; у последних кубов оставались дефлегматоры. Вот такая установка давала отбор светлых нефтепродуктов в 42,5 %, но при этом 10 % бензина «размазывалось» по другим фракциям.
Наконец, решили сделать так: Каждый куб получил свою ректификационную колонну, и из каждого куба нефть подавалась не в следующий куб, а в его колонну. Самотёком, как в предшествующих конструкциях, не получалось, поэтому использовался паровой лифт для подачи нефти в следующую по порядку колонну.
Трубчатка, или печь особой конструкции
Это получилось технологическое отступление, чтобы стало ясно, что такое трубчатка и откуда она взялась.
Инженеры, обозревавшие строй ректификационных колонн, оплетённый трубами и подмостками с лестницами, приходили к мысли, что лучше бы оставить одну колонну, пусть и большую. Ректификационная колонна — изделие сложное, внутри десятки тарелок со множеством отверстий, закрытых специальными колпачками. Управлять ей непросто, чтобы получать дистилляты нужного качества.
Давайте оставим одну колонну. Но что для этого нужно? Нужно нагреть нефть до температуры последнего куба, примерно до 330 градусов, и в таком виде впрыснуть в колонну. Там нефть сразу и распадётся по фракциям. Мечта нефтяников об одной колонне не сбылась, но, по крайней мере, более эффективный процесс перегонки нефти придумали.
Как нагреть? Для этого и была построена трубчатая печь или трубчатка. Печь представляла собой устройство размером с одноэтажный дом, примерно 3х3 метра и высотой 3,7 метров, большая часть которого была занята топкой, а через боров была проложена система труб, соединённых в змеевик, в которых проходила и нагревалась нефть. В печь нефть поступала после аппарата предварительного испарения, в котором отделялись пары бензина.
НПЗ в Куйбышеве. «Домик» на переднем плане — это и есть трубчатка, или печь для нагрева нефти
Печь — вовсе не столь простое дело. Она делалась весьма своеобразной конструкции, которую не сразу довели до нужного совершенства. Например, свод печи был плоский, и огнеупорный кирпич, имевший Т-образную прорезь, надевался на балочные держатели, прикреплённые к стальному перекрытию. Сама трубчатка требовала строго цельнотянутых труб из хромомолибденовой или хромоникелевой стали, которые должны были выдерживать 500 градусов и 100 атмосфер давления. Отдельным вопросом были двойники, соединяющие трубы. И. Л. Гуревич привёл с десяток их разных конструкций; мысль по усовершенствованию их кипела. Они, выдерживая температуру и давление, должны были быть съёмными или разборными, потому что трубчатку периодически приходилось чистить от кокса. Нефть, хоть и немного, пригорала к трубам, кокс накапливался и мешал прокачке. На заводе был особый мастер, который разбирал и чистил трубчатку. Ответственная работа. Небрежность в затяжке — разогретая нефть сорвёт плохо затянутые двойники, и будет огнемётный факел.
За переход к более совершенной технологии перегонки нефти пришлось изрядно заплатить.
Перегонка раз, перегонка два...
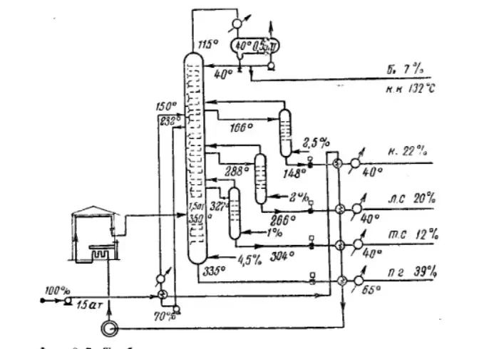
Наконец, ректификационная колонна. На примере одноступенчатого процесса с одной колонной. Нефть, разогретая в печи до 330 градусов, подавалась в нижнюю часть колонны диаметром 2,52 метра и высотой 36,5 метров; под вводом было 6 тарелок, над вводом — 32 тарелки, всего 38 тарелок в колонне. Самые тяжёлые дистилляты: мазут и гудрон — стекали в низ колонны. Остальные конденсировались снизу вверх по тарелкам. Например, на 9-й тарелке снизу конденсировался соляр, на 11-13-й тарелках — дизтопливо, на 17-19-й тарелках — керосин, на 24-26-й тарелках — лигроин, а бензин, точнее, остатки его после отбензинирования нефти, выходили в виде пара через клапан наверху колонны.

Схема нефтяной ректификационной колонны из учебника И. Л. Гуревича

Примерно так выглядят тарелки внутри ректификационной колонны
Чтобы продукты не имели растворённых газов, лигроин, керосин и дизтопливо забирались из основной колонны в особые отпарные колонны на 6 тарелок каждая. В ней сверху подавалась фракция, снизу пар, который и выпаривал газы и оставшиеся лёгкие фракции. Пар вместе с газами подавался в основную колонну выше места забора продукта на отпаривание, а сам продукт из отпарной колонны поступал в холодильник и в резервуар.
По сравнению с кубовыми установками, колонны давали чёткое разделение по фракциям, с температурным разрывом между ними, без «размазывания» и потерь, а также стабильные нефтепродукты.

Схема одноступенчатого процесса с основной и отпарными колоннами из учебника И. Л. Гуревича
Одна колонна требовала лёгкой нефти, с большим содержанием светлых фракций, хорошо обезвоженной и обессоленной. Но советская нефть по большей части содержала в себе много тяжёлых фракций, в силу чего в СССР нефть перегонялась по двухступенчатому процессу. Первая ступень — атмосферная перегонка нефти до мазута. Вторая ступень — вакуумная перегонка мазута до гудрона или более тяжёлых остатков.
Был ещё и трёхступенчатый процесс, в котором гудрон с подогревом в отдельной печи доиспарялся в отдельной вакуумной ректификационной колонне.
Поэтому на советских НПЗ было больше одной колонны. На одноступенчатом процессе, с перегонкой до мазута, использовалась основная ректификационная колонна и меньшая отпарная ректификационная колонна. На двухступенчатом процессе, с перегонкой до смазочных масел и асфальта: основная ректификационная колонна и меньшая отпарная колонна — атмосферные, основная ректификационная колонна и меньшая отпарная колонна — вакуумные.
На этом фото 1943 года НПЗ в Плоешти с многоступенчатой схемой переработки
Так нефтеперерабатывающий завод и превращался в нагромождение колонн, оплетённых трубами, подмостками и лестницами.
И это мы ещё не добрались до крекинга и гидрокрекинга, где были отдельные, весьма сложные по устройству установки.
Техническое преимущество нефтепереработки
Ну как, легко перегнать нефть? Это же казалось так просто!
Уже из этого обзора видно, что относительная дешевизна нефтепродуктов основывается на высоком техническом уровне нефтеперерабатывающей промышленности, и в особенности на рациональном подходе к расходу тепла. Используя развитую систему теплообменников, можно провести все операции практически с одного нагрева нефти в печи. Если, к примеру, из ректификационной колонны керосин выходит с температурой 177 градусов, а соляр — 227 градусов, то их можно использовать на аппаратах предварительного испарения и даже для получения пара или, по крайней мере, подогретой воды, существенно экономящей расход топлива в паровых котлах. Даже в двухступенчатых процессах, где нужно было нагреть мазут в печи, строили сдвоенные печи, чтобы экономить топливо.
Это и не удивительно. В ту пору, когда Бергиус, Фишер и Тропш конструировали свои установки, за нефтепереработкой уже стояло 65 лет развития с момента появления первых нефтеперегонных заводов (в 1859 году — в России, в Сураханах близ Баку, в 1861 году — в США, в Пенсильвании). На тот момент в технику нефтепереработки уже были вложены колоссальные усилия десятков учёных самого крупного масштаба, сотен исследователей, тысяч инженеров и техников. Причём в процесс, гораздо более простой с точки зрения физико-химической сущности, чем тот, с которым работали немцы.
- Дмитрий Верхотуров
Обсудим?
Смотрите также:
